CREATE CONTROLFILE
Note:
Oracle recommends that you perform a full backup of all files in the database before using this statement. For more information, see Oracle Database Backup and Recovery User's Guide.
Purpose
The CREATE
CONTROLFILE
statement should be used in only a few cases. Use this statement to re-create a control file if all control files being used by the database are lost and no backup control file exists. You can also use this statement to change the maximum number of redo log file groups, redo log file members, archived redo log files, data files, or instances that can concurrently have the database mounted and open.
To change the name of the database, Oracle recommends that you use the DBNEWID
utility rather than the CREATE
CONTROLFILE
statement. DBNEWID
is preferable because no OPEN
RESETLOGS
operation is required after changing the database name.
See Also:
-
Oracle Database Utilities for more information about the
DBNEWID
utility -
ALTER
DATABASE
"BACKUP CONTROLFILE Clause" for information creating a script based on an existing database control file
Prerequisites
To create a control file, you must have the SYSDBA
or SYSBACKUP
system privilege.
The database must not be mounted by any instance. After successfully creating the control file, Oracle mounts the database in the mode specified by the CLUSTER_DATABASE
parameter. The DBA must then perform media recovery before opening the database. If you are using the database with Oracle Real Application Clusters (Oracle RAC), then you must then shut down and remount the database in SHARED
mode (by setting the value of the CLUSTER_DATABASE
initialization parameter to TRUE
) before other instances can start up.
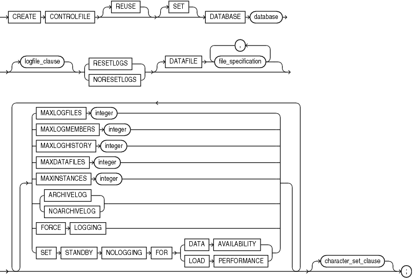
Syntax
character_set_clause::=
Semantics
When you issue a CREATE
CONTROLFILE
statement, Oracle Database creates a new control file based on the information you specify in the statement. The control file resides in the location specified in the CONTROL_FILES
initialization parameter. If that parameter does not have a value, then the database creates an Oracle-managed control file in the default control file destination, which is one of the following (in order of precedence):
-
One or more control files as specified in the
DB_CREATE_ONLINE_LOG_DEST_
n
initialization parameter. The file in the first directory is the primary control file. WhenDB_CREATE_ONLINE_LOG_DEST_
n
is specified, the database does not create a control file inDB_CREATE_FILE_DEST
or inDB_RECOVERY_FILE_DEST
(the fast recovery area). -
If no value is specified for
DB_CREATE_ONLINE_LOG_DEST_
n
, but values are set for both theDB_CREATE_FILE_DEST
andDB_RECOVERY_FILE_DEST
, then the database creates one control file in each location. The location specified inDB_CREATE_FILE_DEST
is the primary control file. -
If a value is specified only for
DB_CREATE_FILE_DEST
, then the database creates one control file in that location. -
If a value is specified only for
DB_RECOVERY_FILE_DEST
, then the database creates one control file in that location.
If no values are set for any of these parameters, then the database creates a control file in the default location for the operating system on which the database is running. This control file is not an Oracle Managed File.
If you omit any clauses, then Oracle Database uses the default values rather than the values for the previous control file. After successfully creating the control file, Oracle Database mounts the database in the mode specified by the initialization parameter CLUSTER_DATABASE
. If that parameter is not set, then the default value is FALSE
, and the database is mounted in EXCLUSIVE
mode. Oracle recommends that you then shut down the instance and take a full backup of all files in the database.
REUSE
Specify REUSE
to indicate that existing control files identified by the initialization parameter CONTROL_FILES
can be reused, overwriting any information they may currently contain. If you omit this clause and any of these control files already exists, then Oracle Database returns an error.
DATABASE Clause
Specify the name of the database. The value of this parameter must be the existing database name established by the previous CREATE
DATABASE
statement or CREATE
CONTROLFILE
statement.
SET DATABASE Clause
Use SET
DATABASE
to change the name of the database. The name of a database can be as long as eight bytes.
When you specify this clause, you must also specify RESETLOGS
. If you want to rename the database and retain your existing log files, then after issuing this CREATE
CONTROLFILE
statement you must complete a full database recovery using an ALTER
DATABASE
RECOVER
USING
BACKUP
CONTROLFILE
statement.
logfile_clause
Use the logfile_clause
to specify the redo log files for your database. You must list all members of all redo log file groups.
Use the redo_log_file_spec
form of file_specification
(see file_specification) to list regular redo log files in an operating system file system or to list Oracle ASM disk group redo log files. When using a form of ASM_filename
, you cannot specify the autoextend_clause
of the redo_log_file_spec
.
If you specify RESETLOGS
in this clause, then you must use one of the file creation forms of ASM_filename
. If you specify NORESETLOGS
, then you must specify one of the reference forms of ASM_filename
.
See Also:
ASM_filename for information on the different forms of syntax and Oracle Automatic Storage Management Administrator's Guide for general information about using Oracle ASM
GROUP integer
Specify the logfile group number. If you specify GROUP
values, then Oracle Database verifies these values with the GROUP
values when the database was last open.
If you omit this clause, then the database creates logfiles using system default values. In addition, if either the DB_CREATE_ONLINE_LOG_DEST_
n
or DB_CREATE_FILE_DEST
initialization parameter has been set, and if you have specified RESETLOGS
, then the database creates two logs in the default logfile destination specified in the DB_CREATE_ONLINE_LOG_DEST_
n parameter, and if it is not set, then in the DB_CREATE_FILE_DEST
parameter.
See Also:
file_specification for a full description of this clause
RESETLOGS
Specify RESETLOGS
if you want Oracle Database to ignore the contents of the files listed in the LOGFILE
clause. These files do not have to exist. You must specify this clause if you have specified the SET
DATABASE
clause.
Each redo_log_file_spec
in the LOGFILE
clause must specify the SIZE
parameter. The database assigns all online redo log file groups to thread 1 and enables this thread for public use by any instance. After using this clause, you must open the database using the RESETLOGS
clause of the ALTER
DATABASE
statement.
NORESETLOGS
Specify NORESETLOGS
if you want Oracle Database to use all files in the LOGFILE
clause as they were when the database was last open. These files must exist and must be the current online redo log files rather than restored backups. The database reassigns the redo log file groups to the threads to which they were previously assigned and reenables the threads as they were previously enabled.
You cannot specify NORESETLOGS
if you have specified the SET
DATABASE
clause to change the name of the database. Refer to "SET DATABASE Clause" for more information.
DATAFILE Clause
Specify the data files of the database. You must list all data files. These files must all exist, although they may be restored backups that require media recovery.
Do not include in the DATAFILE
clause any data files in read-only tablespaces. You can add these types of files to the database later. Also, do not include in this clause any temporary data files (temp files).
Use the datafile_tempfile_spec
form of file_specification
(see file_specification) to list regular data files and temp files in an operating system file system or to list Oracle ASM disk group files. When using a form of ASM_filename
, you must use one of the reference forms of ASM_filename
. Refer to ASM_filename for information on the different forms of syntax.
See Also:
Oracle Automatic Storage Management Administrator's Guide for general information about using Oracle ASM
Restriction on DATAFILE
You cannot specify the autoextend_clause
of file_specification
in this DATAFILE
clause.
MAXLOGFILES Clause
Specify the maximum number of online redo log file groups that can ever be created for the database. Oracle Database uses this value to determine how much space to allocate in the control file for the names of redo log files. The default and maximum values depend on your operating system. The value that you specify should not be less than the greatest GROUP
value for any redo log file group.
MAXLOGMEMBERS Clause
Specify the maximum number of members, or identical copies, for a redo log file group. Oracle Database uses this value to determine how much space to allocate in the control file for the names of redo log files. The minimum value is 1. The maximum and default values depend on your operating system.
MAXLOGHISTORY Clause
This parameter is useful only if you are using Oracle Database in ARCHIVELOG
mode. Specify your current estimate of the maximum number of archived redo log file groups needed for automatic media recovery of the database. The database uses this value to determine how much space to allocate in the control file for the names of archived redo log files.
The minimum value is 0. The default value is a multiple of the MAXINSTANCES
value and depends on your operating system. The maximum value is limited only by the maximum size of the control file. The database will continue to add additional space to the appropriate section of the control file as needed, so that you do not need to re-create the control file if your your original configuration is no longer adequate. As a result, the actual value of this parameter can eventually exceed the value you specify.
MAXDATAFILES Clause
Specify the initial sizing of the data files section of the control file at CREATE
DATABASE
or CREATE
CONTROLFILE
time. An attempt to add a file whose number is greater than MAXDATAFILES
, but less than or equal to DB_FILES
, causes the control file to expand automatically so that the data files section can accommodate more files.
The number of data files accessible to your instance is also limited by the initialization parameter DB_FILES
.
MAXINSTANCES Clause
Specify the maximum number of instances that can simultaneously have the database mounted and open. This value takes precedence over the value of the initialization parameter INSTANCES
. The minimum value is 1. The maximum and default values depend on your operating system.
ARCHIVELOG | NOARCHIVELOG
Specify ARCHIVELOG
to archive the contents of redo log files before reusing them. This clause prepares for the possibility of media recovery as well as instance or system failure recovery.
If you omit both the ARCHIVELOG
clause and NOARCHIVELOG
clause, then Oracle Database chooses NOARCHIVELOG
mode by default. After creating the control file, you can change between ARCHIVELOG
mode and NOARCHIVELOG
mode with the ALTER
DATABASE
statement.
FORCE LOGGING
Use this clause to put the database into FORCE
LOGGING
mode after control file creation. When the database is in this mode, Oracle Database logs all changes in the database except changes to temporary tablespaces and temporary segments. This setting takes precedence over and is independent of any NOLOGGING
or FORCE
LOGGING
settings you specify for individual tablespaces and any NOLOGGING
settings you specify for individual database objects. If you omit this clause, then the database will not be in FORCE
LOGGING
mode after the control file is created.
Note:
FORCE
LOGGING
mode can have performance effects. Refer to Oracle Database Administrator's Guide for information on when to use this setting.
SET STANDBY NOLOGGING FOR DATA AVAILABILITY | LOAD PERFORMANCE
SET STANDBY NOLOGGING
The SET STANDBY NOLOGGING
disables logging on the standby. You can specify it in two modes:
-
SET STANDBY NOLOGGING FOR DATA AVAILABILITY guarantees full data replication to the standby database. The primary and standby databases are synchronized during the load. In cases of network congestion the primary database will throttle its load.
-
SET STANDBY NOLOGGING FOR LOAD PERFORMANCE to maintain speed of primary database load and synchronize with the standby later.
Restrictions On SET STANDBY NOLOGGING
The SET STANDBY NOLOGGING
clause cannot be used at the same time as FORCE LOGGING
.
character_set_clause
If you specify a character set, then Oracle Database reconstructs character set information in the control file. If media recovery of the database is subsequently required, then this information will be available before the database is open, so that tablespace names can be correctly interpreted during recovery. This clause is required only if you are using a character set other than the default, which depends on your operating system. Oracle Database prints the current database character set to the alert log in $ORACLE_HOME/log
during startup.
If you are re-creating your control file and you are using Recovery Manager for tablespace recovery, and if you specify a different character set from the one stored in the data dictionary, then tablespace recovery will not succeed. However, at database open, the control file character set will be updated with the correct character set from the data dictionary.
You cannot modify the character set of the database with this clause.
See Also:
Oracle Database Backup and Recovery User's Guide for more information on tablespace recovery
Examples
Creating a Controlfile: Example
This statement re-creates a control file. In this statement, database demo
was created with the WE8DEC character set. The example uses the word path
where you would normally insert the path on your system to the appropriate Oracle Database directories.
STARTUP NOMOUNT CREATE CONTROLFILE REUSE DATABASE "demo" NORESETLOGS NOARCHIVELOG MAXLOGFILES 32 MAXLOGMEMBERS 2 MAXDATAFILES 32 MAXINSTANCES 1 MAXLOGHISTORY 449 LOGFILE GROUP 1 '/path/oracle/dbs/t_log1.f' SIZE 500K, GROUP 2 '/path/oracle/dbs/t_log2.f' SIZE 500K # STANDBY LOGFILE DATAFILE '/path/oracle/dbs/t_db1.f', '/path/oracle/dbs/dbu19i.dbf', '/path/oracle/dbs/tbs_11.f', '/path/oracle/dbs/smundo.dbf', '/path/oracle/dbs/demo.dbf' CHARACTER SET WE8DEC ;