Go to main content

Managing IP Quality of Service in Oracle® Solaris 11.4

Exit Print View

Updated: August 2018
 
 

Introducing the IPQoS Configuration Example

This section introduces the example IPQoS configuration that is used in the tasks in the remaining chapters of the guide. The example shows the differentiated services solution on the public intranet of BigISP, a fictitious service provider. BigISP offers services to large companies that reach BigISP through leased lines. Individuals who dial in from modems can also buy services from BigISP.

IPQoS Topology

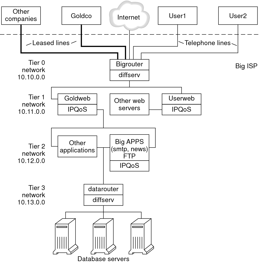
The following figure shows the network topology that is used for BigISP's public intranet.

Figure 6  IPQoS Example Topology

image:Topology diagram shows two user types, corporate and individual, who access an ISP network that is defined in the next context.

    BigISP has these four tiers in its public intranet:

  • Tier 0 – Network 10.10.0.0 includes a large Diffserv router that is called Bigrouter, which has both external and internal interfaces. Several companies, including a large organization that is called Goldco, have rented leased-line services that terminate at Bigrouter. Tier 0 also handles individual customers who call over telephone lines or ISDN.

  • Tier 1 – Network 10.11.0.0 provides web services. The Goldweb server hosts the web site which was purchased by Goldco as part of the premium service that Goldco has purchased from BigISP. The server Userweb hosts small web sites that were purchased by individual customers. Both Goldweb and Userweb are IPQoS enabled.

  • Tier 2 – Network 10.12.0.0 provides applications for all customers to use. BigAPPS, one of the application servers, is IPQoS-enabled. BigAPPS provides SMTP, News, and FTP services.

  • Tier 3 – Network 10.13.0.0 houses large database servers. Access to Tier 3 is controlled by datarouter, a Diffserv router.