BEA Logo BEA Tuxedo Release 8.0

  BEA Home  |  Events  |  Solutions  |  Partners  |  Products  |  Services  |  Download  |  Developer Center  |  WebSUPPORT

 

   Tuxedo Documentation   |   Using the BEA Tuxedo TOP END Domain Gateway   |   Local Topics   |   Previous Topic   |   Next Topic   |   Contents

 


How the TEDG Works

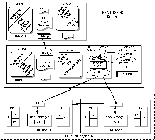
The TOP END Domain Gateway (TEDG) provides interoperability between BEA TOP END systems and BEA Tuxedo Domains. The TEDG consists of two parts: a gateway administrative server and a gateway process.

Part

Description

Gateway administrative server (GWADM)

The gateway group administrative server that registers with the DMADM server to obtain configuration information used by the gateway group.

Gateway process (GWTOPEND)

The gateway process that provides connectivity to remote BEA TOP END systems.


 

Each GWADM/GWTOPEND pair represents an instance of the TEDG. Multiple instances can be configured by specifying multiple GWADM/GWTOPEND pairs, one pair per BEA Tuxedo group.

The following illustration shows how the TEDG connects a BEA TOP END system and a BEA Tuxedo domain.

Connecting Systems with the TOP END Domain Gateway


 

How a BEA Tuxedo User Views the TEDG

From the perspective of a BEA Tuxedo system user, the TEDG:

How a BEA TOP END User Views the TEDG

From the perspective of a BEA TOP END system user, the TEDG:

See Also

 

back to top previous page next page